LESSON 19: The Enchanted Cards & Envelope

More fascinating RISING CARD EFFECTS are revealed to you in this lesson. When you have studied and mastered the preceding lesson and this one, you will have an interesting group of Rising Card Experiments at your command. For every occasion you will have one or several of these clever effects to work into your program.

With the effects in this lesson I teach you some construction work. It is essential for the magician to know how to build his own effects. The accomplished magician is not only an inventor and a creator, but he is also a builder. The tremendous cost of having apparatus built and the inability to guard secrets in this way has made it necessary for the magician to be a constructionist.

You must now start to study the construction side of your chosen profession. Build each effect in this lesson. You will find the instruction and experience you gain invaluable to you. It will help you greatly in planning and constructing your own original effects.

1. THE ENCHANTED CARDS AND ENVELOPE

EFFECT:

Three cards are selected by members of audience. A spectator then places them in an envelope and seals them in. Magician places this envelope in a small open metal frame which is on an upright stand. The top of the envelope is cut off with a pair of scissors. Upon command the selected cards rise up out of the envelope one at a time.

PARAPHERNALIA:

1 -- A deck of cards.

2 -- Spool of fine black silk thread.

3 -- Heavy manila envelope, 3 5/8 x 6 1/2 inches. (Can be purchased at a stationery or printer's shop.)

4 -- A special tin or brass case.

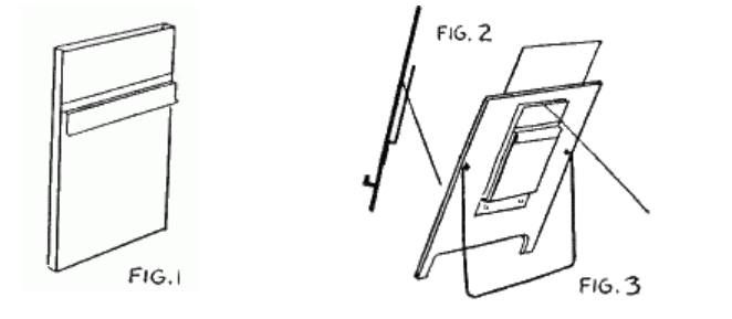
You should have this made by a tinsmith or metal worker. It should be large enough to hold 10 cards easily. It must not be too small or you will have difficulty in making the cards rise out of it. About one-third of its length from the top, have a tin ledge by which the case can be hung on a frame. Paint the case a dull black. Figure 1.

5 -- A special stand for holding envelope and tin case.

Get a thin board. Cut it out at the bottom to make two legs. On the front side of the board attach a ledge to support the envelope. Varnish, stain or paint board an attractive color. On the back attach a tin holder painted black to support the tin case with cards. Hinge a piece of wood onto the back or attach a bent wire to hold the board upright. Figure 2 shows side view of the stand and Figure 3 shows back view.

If desired, open work may be cut into the board and backed up with a piece of black cloth to conceal the arrangement at the back.

From the front it just appears that the envelope is resting on board which is propped upright. The audience does not suspect any mechanical arrangement behind it. Figure 4.

6 -- A metal frame.

This may be made of tin or brass and painted a bright red. It should be large enough to hold the envelope and case with cards. The ledge on back of tin case for cards fits over top edge of this frame. On the bottom is a holder by which frame may be put onto a base or pedestal. Figures 5 and 6.

7 -- A base or pedestal to hold frame.

The upright may be made of metal or wood. You may use a piece of metal piping and paint it black with a wooden base gilded with gold bronze. The pedestal should be about 2-1/2 feet high so that when whole apparatus is put together its height is about three feet. Figures 7 and 8.

8 -- A pair of scissors.

SECRET AND PATTER:

To Prepare:

Take any three cards -- in this case, the King of Diamonds, the Eight of Spades, and the Ten of Hearts. Thread them with four other indifferent cards. (Refer back to Lesson 18 for method of threading cards.) Place the threaded cards into the black tin case. Place tin case in tin holder on back of the envelope stand.

Carry the thread through a staple on the floor a little back of where you intend to place the pedestal. Figure 8. Then run the thread off stage to an assistant for him to operate at your command. Or if you operate it yourself, attach an iron washer to the end of it and place on table, eventually to be placed in your trouser's pocket. In this case allow yourself the proper amount of slack in the thread.

Place the empty envelope on the stand. In front and to the right place the pedestal with the metal skeleton frame on it.

Take a deck of cards and remove the King of Diamonds, the Eight of Spades, and the Ten of Hearts. Place them on "Top" of deck in readiness for FORCING.

To Perform:

FORCE the three cards on three different spectators.

Pick up envelope from stand, open it, and show it empty. Give it to first spectator who selected card. "Just see that the envelope is empty and place your card inside." Take envelope and pass it to next spectator.

"And will you please place the card which you selected with the other card in the envelope?" This done, go to the next spectator.

"Place your card in the envelope with the other two and then seal the envelope."

Have cards placed in envelope so that they face to front of it. If you find that cards are not placed in right, just remove them under pretense of showing them to audience again. Then replace them and have someone seal the envelope.

Or, another way of working is to notice which way cards are placed in envelope, facing front or back, and then place envelope on the stand so that cards face outward regardless of which side of envelope is out.

The point of this is to make sure that you do not have the cards rising face outward from the front of the envelope (supposedly) when the spectators placed them in with backs to front of envelope.

Keep envelope always within sight of audience. Place it again on envelope stand. Figure 4.

Go to pedestal. Remove skeleton frame and show it freely on all sides.

"I can see you as well through this side (look through frame at audience) as I can through this side" (reverse frame and look through other side.) Pick up the pedestal and set it down again.

"Someone said that this skeleton frame on top of this pedestal would make a good lighthouse if it only had a light in it."

Place frame back on pedestal.

Pick up envelope from stand. As you do so, place thumb in front of envelope and fingers behind stand so that you can lift up also the tin case with threaded cards. Do this easily and naturally as though you picked up only the envelope. Keep the tin case well hidden behind envelope.

"I told the gentleman that we'd try to have a little light on the subject and would fix up a lighthouse with keepers and everything."

Place envelope in frame, allowing ledge on back of tin card case to hook over top edge of frame. Figure 9.

"How's that? This envelope makes a good look-out station."

Pick up scissors and cut about three-quarters of an inch from the top of the envelope.

"We shall cut a hole in the roof, or make a window on top, or something. We have three good watchers inside in the form of the three cards that were selected. Yo ho! Yo ho! A ship in sight!"

Assistant pulls thread and first card rises up. Or if you are performing alone, move backwards enough to make the card rise. Figure 10.

"Watchman Number One is right on the job — the king of all he surveys. Your King of Diamonds, sir."

Remove the King. To the audience, of course, it appears that the card rose up from the envelope. Though the card really came up from behind the envelope, the illusion is perfect.

"Another ship."

The next threaded card is caused to rise.

"And another watchman on the job. (To spectator who drew card.) You see, sir, he doesn't want you to go on the rocks. The Eight of Spades was your card, was it not? Eight bells, and all's well." Remove card.

"The boys are working in shifts. Next shift!" Assistant causes Ten of Hearts to rise more slowly.

"A little lazier than the rest. (In a loud voice.) A shipful of pretty girls in sight!" Assistant pulls thread quickly. This, of course, causes the card to rise up suddenly. "That's getting some action." Remove card.

NOTE:

Another way of making frame for envelope and tin card case is to have a flat piece of tin or heavier metal soldered to bottom of frame to form a base for it to stand on. This eliminates the pedestal but makes it necessary for you to have a table on which to set the frame. Figure 11.

If card case, or houlette, as it is commonly called, is made of brass it can be nickel plated.

2. BEWITCHED RISING CARDS AND ENVELOPE

This is another variation of the envelope method of performing rising cards. It is easy to prepare and simple in operation.

EFFECT:

Three selected cards are placed in an envelope and envelope sealed. Top of envelope is cut off. Magician commands, and up rise the three cards out of the envelope, one at a time.

PARAPHERNALIA:

1 -- Two decks of cards.

2 — Fine black silk thread.

3 -- A double heavy manila envelope, 3-5/8 x 6-1/2 inches in size.

Refer to Lesson 8, pages 10 and 11 for description of Double Envelope. 4 -- A pair of scissors.

SECRET AND PATTER:

To Prepare:

Remove the Six of Clubs, the Jack of Spades, and the Ten of Diamonds from one deck of cards. Thread them between four indifferent cards. At the bottom edge of one outer card paste the end of a strip of paper. Draw this under the rest of the cards and paste the other end of it at the bottom edge of the other outer card. This will keep the cards between from falling down. Figure 12.

Run end of thread through back of envelope with the aid of a needle. Place cards in rear division of envelope. Put a little glue on each outside card and paste back of envelope and partition down on cards to hold them in place. Figures 13 and 14, next page.

Now paste both flaps of envelope together so that envelope looks like an ordinary one. If you have prepared the cards carefully, they will not be noticeable.

Have prepared double envelope on table. Have end of thread attached to back of table, as explained in Lesson 18. The length of thread should be about the same as in RISING CARDS FROM GLASS TUMBLER in that lesson. Experimentation will teach you the exact length of thread for practical results.

Place duplicate Six of Clubs, Jack of Spades, and Ten of Diamonds on top of other deck in readiness for FORCING.

To Perform:

FORCE the Six of Clubs, the Jack of Spades, and the Ten of Diamonds on three different spectators. Then collect the cards and hold them up in right hand so that all can see them.

Call cards by names and hold them in full view as you turn to drop deck on table and pick up envelope with left hand.

As you pick up envelope from table, place left thumb over spot where thread comes out. Show envelope on both sides, then bring threaded side to rear. Figure 15.

"An envelope is commonly used for sending letters, but in this case, we will send a card instead. For good luck, we'll make it three cards."

Show the envelope empty and place the three cards in it. Spread the cards fanwise and hold them with faces toward audience so that all can see that you actually put them into the envelope. Figure 16.

Seal the envelope.

"By sealing the envelope it becomes a first class package -- which is quite necessary for a first class experiment before a first class audience. So, then, we mail the Six of Clubs, the Jack of Spades, and Ten of Diamonds from here — (Place envelope in right hand and hold it as far to the right side as possible. You stand facing audience.) -- to here. (Bring envelope in a semi-circle with a sweep over to the left hand, which should be extended a little to the left.) That is what they call fast air mail. Let us open the envelope, and see what the mail man brought."

Pick up scissors and cut about half an inch from top of envelope. Lay down scissors and hold envelope in left hand.

Gradually bring the envelope forward so that thread is drawn taut and first card arises. Figure 17.

"A code message. An uprising at ten o'clock a.m. Someone is going to get up at ten o'clock tomorrow morning. Coming right up out of cover."

Remove Ten of Diamonds with right hand. Continue moving so that thread is

stretched taut and the Jack of Spades slowly arises.

"Ah, his name is Jack. There is a dark man in the case. He carries a Spade. Said he is going around trying to dig up a girl friend for the party tonight. Maybe, a blonde." After a card has risen, remove it from envelope. "He doesn't seem to have any visible means of support." Cause the third card to arise — the Six of Clubs.

"A six. Six Clubs. Six Clubs all in one night. That's what they call stepping out. How does he do it? But the mystery is solved. The woman pays and pays."

Remove the card. Pull the envelope forward again. This move releases thread from slit in front card and releases envelope from thread. You can now turn envelope around and bring it forward to show audience that it is apparently an ordinary envelope.

Drop cards and envelope on table.

NOTE:

Sometimes for a finish I tear the envelope with the selected cards in it through the middle, then place both pieces together and tear it again.

If you do this carefully and with a flourish, audience cannot see the cards inside and believe that there is nothing left in the envelope. This is added SHOWMANSHIP. You have not shown envelope to be empty after cards have risen, but tearing it accents the fact that there is nothing inside.

The tearing is not necessary, however, for audience has seen the cards rise and does not suspect that anything is left in envelope.

If you have an assistant, you may have him cause the cards to rise by pulling thread from the wings as explained in previous effect.

3. MYSTERIOUS BOOKMARKS or RISING CARDS FROM BOOK

EFFECT:

A very pretty experiment in which three selected cards are placed in different parts of a book. The book is closed, yet on command they arise one at a time.

PARAPHERNALIA:

1 -- Two decks of cards.

2 -- A book.

About 5 x 7-1/2 inches is a nice size. Preferably an old book.

3 -- A tin case.

This should be large enough to hold 9 cards easily. Bottom edge is closed. Top edge is open. You can have a tinner make this for a nominal sum. In emergency use card board. Figure 18.

4 -- Fine black silk thread.

SECRET AND PATTER:

To Prepare:

Near the front part of the book cut out enough space to fit tight around the tin card case. Figure 19.

Glue the tin case into the hole cut out for it. Then glue one page down over each side of the case. Figure 20, next page.

The book may now be shown freely with opening of case away from audience. The pages may also be run through except for the prepared part and the audience will not suspect anything.

Thread three cards which you are going to force between four indifferent cards. In this effect, we shall take the Ace of Spades, the Two of Hearts, and the Nine of Diamonds. Place the threaded cards in the case with thread hanging over top edge of book. Now attach end of thread to back of table as described previously.

Place book on table, prepared edge away from audience.

Take other deck of cards and place the Ace of Spades, the Two of Hearts, and the Nine of Diamonds on "Top" in readiness for FORCING.

To Perform:

Pick up book from table.

"Sometime ago in looking over the books in a second hand store, my attention was called to this one. I picked it up, and as I did so, I noticed a peculiar action on the part of the bookmarks. The bookmarks, strange to say, were playing cards, and they acted queerly. Being a conjurer, I naturally became attracted to the peculiarity of the happening. I purchased the book and brought it home with me. On close examination I discovered some odd facts about it. I have often wondered about the former owner. I am curious to know whether he was a conjurer or interested somehow in mysticism. I have never discovered the real secret of this peculiar book, but I have learned some of its peculiarities. For instance, let me show you something about its bookmarks. This deck of cards will answer the purpose nicely."

Place book on table and pick up cards. Perform the PASS, thus bringing the desired cards to the center for

FORCING.

"Will you, sir, be kind enough to select any one of these cards for the experiment?"

Force card on this spectator, then continue with two other spectators, forcing the two remaining cards.

Collect the three cards and show them to audience. calling them by name. Hold them up high so that they are in full view as you place remainder of deck on table.

Pick up book again.

"I shall let these cards represent bookmarks."

Run carelessly through loose pages of book. Open book wide in one place.

"In this place, I shall put the Ace of Spades."

Run through a few more pages and place the Six of Hearts in another place in the book. Show audience that you actually put the card inside of the book. Figure 21.

"Here I shall place the Six of Hearts."

Put the remaining selected card in a third place in the book.

"And in still another place I shall put the Nine of Diamonds."

Close the book and show it on both sides, being careful to keep top end away from audience. Hold book in left hand as in Figure 22.

"Now suppose that I want to turn quickly to the place where the Ace of Spades was placed. I have but to give the Ace a thought and out it comes to tell me of its location."

As you say this, pull the thread taut and the Ace in the tin case arises.

"All I would have to do is to open the book here and find my place. Or suppose I want to find the place where the Six of Hearts is located. I have but to think of the Six of Hearts, and it immediately presents itself

and remains here until I remove it or reach in to open the book at the desired pages."

Move book so that the Six of Hearts will rise. Then remove the card. Figure 23.

"And now there remains the Nine of Diamonds. An odd card that. It so happens that if you use a nine spot for a bookmark, you must knock on the book three times before it will appear. I learned this secret by accident. The nine would not arise, so I struck the book, and luckily I struck it three times." Strike book three times with knuckles of right hand.

Pull thread taut again, and the nine arises. "And thus the Nine arises to tell of its location." Remove card.

"Perhaps you can explain it. I cannot. These bookmarks are as puzzling to me now as they were the first time I performed the experiment." Lay book and cards aside.

4. A BOOK AND A CARD

This impromptu Rising Card Effect can be done anywhere at a moment's notice. It is surprising and puzzling in its effect.

EFFECT:

A card is dropped inside of a book. Magician shows the book on both sides and his empty hands to the audience. Suddenly the card rises up in a bewildering fashion from the book.

PARAPHERNALIA:

1--A deck of cards.

2--A book.

SECRET AND PATTER:

To Perform:

Run through the pages of the book to show that nothing is concealed. Then give book to a spectator to hold.

"Would you mind holding this book? You don't have to read it." Give deck of cards to another spectator and ask him to select a card.

"Just take out any card from the pack."

Take book from first spectator and open it about in the middle. Request that second spectator drop card into book.

"Please drop the card into the book. By the way, did everyone see what the card was?"

Pick up card with right hand. Hold book in left hand with one side toward audience in a vertical position. Figure 24.

"The Five of Diamonds."

Name the card, whatever it happens to be.

Hold book as in Figure 24 with front cover facing audience. Hold card in right hand in readiness for BACK PALMING. The position of the book should screen your right hand. Figure 25.

"I'll drop it into the book again."

As you say this, you apparently drop the card into the book. Your hand makes the motion. It is thus brought back of the cover of the book, which is in a vertical position and screens right hand. As soon as hand is screened, BACK PALM the card. Figure 26.


BACK HAND PALMING is taught to you in Lesson 17 under the effect, FLASH CARD PRODUCTION. By this time you should be proficient in performing it. It is a very important principle and must be mastered.

Now raise right hand with card Back Palmed out of the book and close book with left hand. Show palm of right hand empty and show book on both sides to audience. Figure 27.


Turn book up to vertical position again. Bring your right hand backagain behind the book. Manipulate the card back to finger tips and place itagainst the back cover of the book. Hold it there with tips of fingers.Figure 28.

Swing book around to upright position, taking care not to expose cardat the back. Now hold card with thumb of right hand. Figure 29.

Bring up left hand and place left thumb against card, fingers in frontof book. Now place right hand at lower right-hand corner of book. Figure30.

"Do you remember the old song, 'I'd rather be on the outside lookingin than on the inside looking out?' or something of that kind. That is thereason why when you place a Five Spot inside it comes outside."

With left thumb push up card behind book. Audience cannot see movement of your thumb in pushing card. Be sure to hold book at such an angle that upper rear edge is not visible so that audience cannot see that card does not come from inside of the book. Figure 31.

The illusion from the front is perfect. The audience sees your two hands holding the book closed and the selected card apparently rising from the middle of the book. Figure 32. Remove card with right hand.


5. RISING CARDS THROUGH HAT

Another effect with threaded cards -- a bit out of the ordinary.

EFFECT:

Three cards are selected by spectators and replaced in the deck. Deck is thoroughly shuffled and placed in a glass cup. A soft felt hat is now dropped over the cards. The magician commands and the chosen cards rise up one at a time through the hat.

PARAPHERNALIA:

1 -- Two decks of cards.

2 -- A soft felt hat, especially prepared for Rising Cards.

3 -- Fine black silk thread.

4 -- A glass cup that will hold a deck of cards. A kitchen measuring cup will do.

MODUS OPERANDI:

(Method of Working) To Prepare:

Have a card case made of tin, as in Figure 18. Punch a few holes in this case.

In one side of the crown of the felt hat, just a little inside of the top edge, cut a hole. Leave the lining intact. Insert the tin case in this opening in hat. Sew around the case to hold it in place between the lining and the hat. Glue the opening around the case. Figure 33.

Figure 34 shows prepared hat. It is placed with prepared side toward audience and nothing unusual is visible. The opening at the top is made inside of the top edge so that it will not be visible from a side view of the hat.

Thread three cards, duplicates of which you are going to FORCE, between four indifferent cards. Place them all in the tin case. Edges of cards should be just a little below edge of case. Thread free end of the thread into a needle. Carry it from top edge of case across dent in crown of hat and through the other side of crown. See Figure 33.

Run the thread off stage to an assistant or make an arrangement whereby you can control pulling of the thread yourself.

To Perform:

FORCE duplicates of the three cards which you have threaded on three different spectators. Have them returned to deck and shuffled in by another spectator.

Place cards in glass cup, facing audience, and place cup on table. Pick up hat at top with left hand, covering opening in hat with palm of hand. Show hat all around without calling verbal attention to same, and especially inside. If carefully prepared, the inside shows nothing unusual.

Drop hat apparently carelessly over the cards and cup. In reality be very careful to set hat down with prepared side straight toward audience. Also be sure that cards in case are facing toward audience. Figure 35.

Have the thread pulled when desired and the three selected cards will apparently rise one at a time right through the hat. Figure 36.

This effect is novel and makes a big hit. I am going to let you write your own patter for this experiment. I am sure you will experience no difficulty in doing so and will find it great fun.

Bạn đang đọc truyện trên: AzTruyen.Top